A Apple não para de inovar no Apple Watch. Assim, todas as edições trazem sempre algo de novo. No entanto, as maiores diferenças podem chegar no Apple Watch 7. De acordo com o MacRumors, a Apple publicou duas novas patentes. Elas revelam que a Apple vai adicionar Touch ID e uma câmara escondida para selfies ao Apple Watch.
Apple Watch 7 pode apostar no TouchID e câmara escondida!
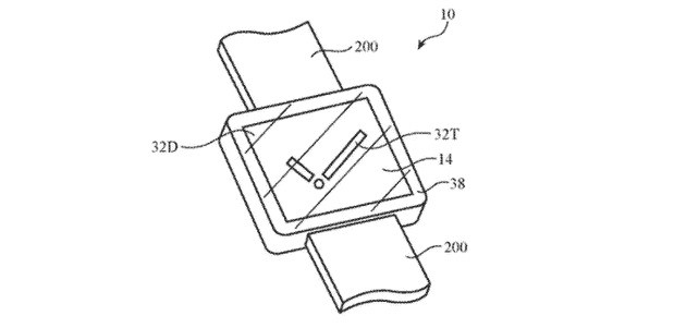
Esta patente explica como o Touch ID pode ser integrado nos botões laterais do Apple Watch. Também revela os propósitos práticos que é possível atingir.

Considerando que o Touch ID é utilizado para a identificação do utilizador, desbloqueio de dispositivos e autorização de pagamentos e não só em aplicações não é difícil percebermos as razões para a integração no Apple Watch.
Neste momento, o Apple Watch continua a apostar na utilização de passwords. Para além disso não volta a pedi-la enquanto o dispositivo não é removido do pulso. Mas a autenticação biométrica permite que a Apple garanta mais segurança quando se usa o Apple Watch ou se faça transações através do Apple Pay.

Para além desta patente relacionada com o Touch ID, foi descoberta outra. Fala da integração de equipamento eletrónico num ecrã com dois níveis. Assim, releva como um painel pode incluir uma câmara e um flash. Eles só ficam visíveis quando necessário.
Esta patente também pode ser aplicada noutros dispositivos.
São exemplo disso, o iPhone e afins. Ainda assim, o foco é o Apple Watch.
O principio de funcionamento desta tecnologia é simples, pelo menos no papel. Assim, temos um ecrã com duas camadas. Poderá haver uma camada interior com os pixéis responsáveis pelas imagens e outro exterior formado por um modulador de luz. Esta segunda camada fica em modo transparente. Ou não.

Quando é necessário captar uma imagem, o circuito de controlo pode temporariamente colocar parte do ecrã no modo transparente. Assim é possível tirar fotos.
Entretanto isto é algo que faz todo o sentido. É que atualmente, a única coisa que impede o Apple Watch de ser uma verdadeira ferramenta de comunicação é a falta de uma câmara. Com ela, poderá fazer chamadas vídeo a partir do pulso.
O que acha disto? Conte-nos tudo nos comentários!
